一、填空题。(1题5分,其余每题2分,共23分)
1.540 dm3=( )m3 3200 mL=( )dm3
7.08 L=( )cm3 4.8 m3=( )m3( )dm3
2.如图是一个长方体的三条棱,它的棱长总和是( )cm,体积是( )cm3。
3.一个长方体,长是2分米,宽和高都是长的一半,这个长方体的表面积是( )平方分米。
4.( )个棱长1 cm的小正方体,可以拼成一个长8 cm,宽5 cm,高3 cm的长方体。
5.一个长方体无盖玻璃鱼缸的容积是180 L,底面是正方形,边长是6 dm,这个玻璃鱼缸的高是( )dm,做这个鱼缸至少需要玻璃( )dm2。
6.用12个棱长1厘米的小正方体拼成一个长3厘米、宽与高都是2厘米的大长方体,再将它去掉一个小正方体(如图所示),现在它的表面积是( )平方厘米。如果去掉的是角上的一个小正方体,它的表面积是( )平方厘米。
7.一根长方体的木料,正好可以锯成两个同样的正方体,这时表面积增加了50平方厘米,这根长方体木料原来的表面积是( )平方厘米,体积是( )立方厘米。
8.一个正方体的表面积是96 dm2,它的体积是( )dm3。
9.将2个西红柿放入盛了250 mL水的量杯后,水位上升至610 mL处,平均每个西红柿的体积是( )cm3。
10.一个长8 dm,宽6 dm,高5 dm的纸箱,最多能放( )个棱长为2 dm的正方体包装盒。
二、判断题。(每题1分,共5分)
1.两个体积(或容积)单位之间的进率是1000。 ( )
2.底面积为100 dm2的正方体,体积为1 m3。 ( )
3.棱长2 dm的正方体,棱长总和和表面积相等。 ( )
4.4个小正方体摆放在一起,露在外面的面有14个。 ( )
5.有6个面、8个顶点、12条棱的物体不是长方体就是正方体。 ( )
三、选择题。(每题2分,共10分)
1.将一块长方体橡皮泥捏成一个正方体,正方体和长方体相比,( )。
A.体积相等,表面积不相等 B.体积和表面积都不相等
C.表面积相等,体积不相等 D.体积和表面积都相等
2.用丝带捆扎一种礼品盒(如下图),接头处长30厘米,要捆扎这种礼品盒需准备( )的丝带比较合理。

A.100厘米 B.220厘米
C.230厘米 D.300厘米
3.如图,3个同学分别用8个1立方厘米的立方体测量了3个盒子的容积,第( )个盒子的容积最大。
A.1 B.2
C.3 D.一样大
4.下面图形( )不能折成正方体。
5.把下图这样的硬纸片对折起来,成为一个正方体,和3号面相对的面是( )号面。
A.2 B.4
C.5 D.6
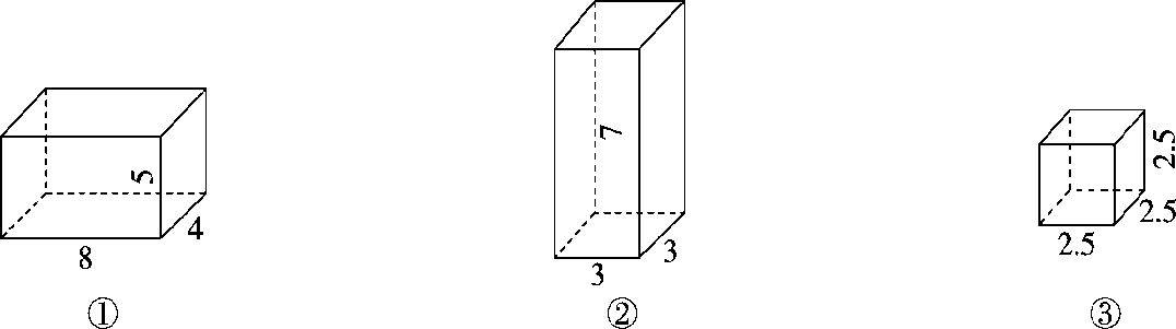
四、计算图形的表面积和体积。(单位:分米)(18分)
五、一根长方体木料长5 m,锯成相同的3段后表面积增加36 dm2,木料的体积是多少立方分米?(5分)
六、在一个长4 dm、宽3 dm、高2 dm的长方体容器里放一块石头,再加满水(石头完全没入水中),然后再将石头取出来,这时水面下降到1.5 dm处。这块石头的体积是多少立方分米?(5分)
七、计算组合图形的表面积和体积。(单位:dm)(10分)
八、解决问题。(1题9分,其余每题5分,共24分)
1.(变式题)一个长方体无盖玻璃鱼缸,长50 cm、宽40 cm、高30 cm。
(1)做这个鱼缸至少需要玻璃多少平方厘米?
(2)在鱼缸里注入40 L水,水深大约多少厘米?
(3)再往水里放入鹅卵石、水草和鱼,测得水面上升了2.5 cm,求 放入物体的体积一共是多少立方厘米?
2.(变式题)学校操场的跳远场地是一个长方形的沙坑,长6米、宽1.8米,结合下图计算,共需黄沙多少吨?
3.一个长方体,如果高增加3厘米,就成为一个正方体。这时表面积比原来增加了96平方厘米。原来的长方体的表面积是多少平方厘米?
4.一个长方体容器(如图),长是40 cm,宽是25 cm,高是20 cm。里面的水深是15 cm,把这个容器盖紧,转动容器,使最小的面朝下,这时里面的水深是多少厘米?
参考答案
一、1.0.54 3.2 7080 4 800
2.120 960
3.10 4.120 5.5 156 6.34 32
7.250 250 8.64 9.180 10.24
二、1.× 2.√ 3.× 4.× 5.×
三、1.A 2.C 3.B 4.C 5.D
四、①S表=2×(5×8+5×4+4×8)=184(平方分米)
V=5×4×8=160(立方分米)
②S表=2×(3×3+3×7×2)=102(平方分米)
V=3×3×7=63(立方分米)
③S表=2.5×2.5×6=37.5(平方分米)
V=2.5×2.5×2.5=15.625(立方分米)
五、36÷4=9(dm2) 5 m=50 dm
9×50=450(dm3)
答:木料的体积是450 dm3。
点拨:此题要注意的问题是:①锯成3段,锯了两次,增加4个面;②单位不统一,先统一单位。
六、4×3×(2-1.5)=6(dm3)
答:这块石头的体积是6 dm3。
点拨:求不规则物体的体积,应用排水法计算,本题易将最终水的体积当成石头的体积。
七、表面积:6×6×6+2×2×4=232(dm2)
体积:6×6×6+2×2×2=224(dm3)
八、1.(1)50×40+2×30×40+2×50×30=7400(cm2)
答:做这个鱼缸至少需要玻璃7400 cm2。
(2)40 L=40000 cm3
40000÷(50×40)=20(cm)
答:水深大约20 cm。
(3)2.5×50×40=5000(cm3)
答:放入物体的体积一共是5000 cm3。
2.40厘米=0.4米
6×1.8×0.4×1.5=6.48(吨)
答:共需黄沙6.48吨。
3.96÷3÷4=8(厘米)
8-3=5(厘米)
2×(8×5×2+8×8)=288(平方厘米)
答:原来的长方体的表面积是288平方厘米。
4.40×25×15÷(25×20)=30(cm)
答:这时里面的水深是30 cm。