一、填一填。(每空1分,共15分)
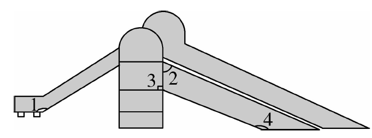
1.
∠1是( )角,∠2是( )角,
∠3是( )角,∠4是( )角。
2.一张长方形纸有( )个角,一条红领巾有( )个角。
3.锐角比直角( ),( )角比直角大。
4.从一点起,用尺子向( )的方向画两条笔直的线,就能画成一个角。
5.猜一猜,被纸卡遮住的分别是什么角?
6.下图中一共有( )个角,其中有( )个直角。
7.下图中有( )个直角。
二、辨一辨。(对的画“√”,错的画“×”)(每题1分,共5分)
1.角所画出的两条边越长,这个角就越大。 ( )
2.长方形和正方形都有4个直角。 ( )
3.用放大镜看角,这个角就变大了。 ( )
4.
这幅图没有角。 ( )
5.
这幅图中没有直角。 ( )
三、选一选。(把正确答案的序号填在括号里)(每题2分,共10分)
1.下面图形中,( )号是角。

2.下面图形中,( )号是直角。

3.下面形成的三个角中,最大的是( ),最小的是( )。

4.
上图中有( )个直角。
①4 ②8 ③6
5.下图中没有角的是( )。

四、动动手,动动脑。(共70分)
1.数一数。(共24分)
(1)一共有多少个角。(每空1分,共3分)
(2)下面图形中各有几个直角?(每空3分,共9分)
(3)仔细数,可别漏数了哦。(每空2分,共12分)

2.画一画。(6分)
在点子图上分别画出一个直角,一个锐角和一个钝角。
3.拼一拼。(每空2分,共8分)
下面这些三角尺拼成的分别是什么角?
4.比一比。(每空2分,共8分)
你能把下面这些角按从小到大的顺序排列吗?
5.变一变。(每题6分,共18分)
(1)画一条线。
(2)画两条线。
(3)将一张正方形纸,按要求去掉一个角,可以怎样剪?画一画。
6.想一想:观察并发现。(每空1分,共6分)
合拢折扇,看看角有什么变化。
可以看出:合拢折扇,角由( )角逐渐变成( )角,继续合拢变成( )角。由此可知,角的大小与两条边张开的大小( ),两条边张开得越大,角越( );张开得越小,角越( )
参考答案
一、1.钝 锐 直 钝 2.4 3 3.小 钝
4.不同 5.直 钝 锐 6.5 2
7.8 [点拨] 数直角或角别漏数了,要按一定的顺序和方法去数。
二、1.× 2.√ 3.× 4.× 5.×
三、1.② 2.③ 3.③ ② 4.② 5.②
四、1.(1)4 7 4 (2)2 3 8
(3)6 6 1 4 7 1
2.略。(答案不唯一)
3.锐 钝 锐 直
4.② ④ ③ ①
5.(1)
(答案不唯一)
(2)
(答案不唯一)
(3)
(答案不唯一)
6.钝 直 锐 有关 大 小